
新闻中心
—— NEWS CENTER ——
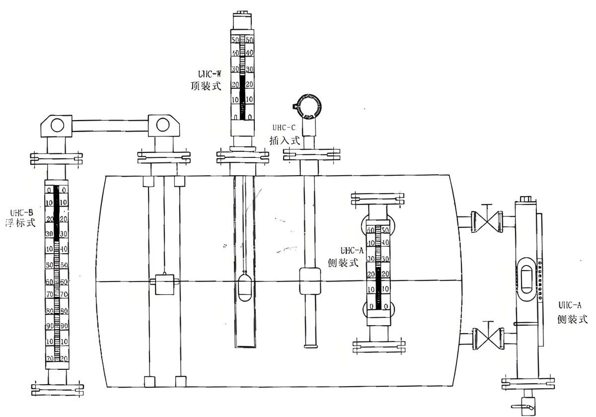
磁翻板液位计是一种专门设计用于测量和监控容器内部液位高度的仪表设备。它的运作原理主要依赖于浮力效应以及磁性之间的相互作用。这种液位计主要由两个核心组件构成:一个是具备磁性材料特性的浮子,另一个是一系列的指示器。当容器内的液位发生变化时,浮子会相应地上升或下降。由于浮子内部嵌入了磁铁,它能够通过磁力的作用,使得外部的指示器上的磁翻片发生翻转。这种翻转动作直观地展示了容器内当前的液位高度。通常情况下,这些指示器会被安装在容器的外部侧壁上,以便于操作人员能够轻松地进行观察和读数。磁翻板液位计因其适用范围广泛,不仅能够用于测量水,还适用于各种类型的油品以及具有腐蚀性或非腐蚀性的其他液体。由于其工作机制简单且稳定,不需要外部电源供电,因此在众多工业领域中,如化工、石油、水处理等行业,磁翻板液位计都得到了广泛的应用和青睐。
磁翻板液位计的安装方式主要有以下几种:

1. 顶装式:这种安装方式是将磁翻板液位计安装在储罐的顶部位置,通过顶部的法兰盘与储罐进行连接,这种方式适用于那些需要从储罐顶部进行液位监测的场合。
2. 侧装式:侧装式安装方法是将磁翻板液位计固定在储罐的侧面,通过侧面的法兰盘与储罐进行连接。这种安装方式便于操作人员观察液位,并且在维护和检修时也相对方便。
3. 底部安装:当需要从储罐底部监测液位时,可以选择底部安装方式。通过底部的法兰盘将液位计与储罐连接起来,这种安装方式适合于那些从顶部或侧面安装不方便的场合。
4. 夹套式:对于那些工作在高温或低温环境下的储罐,夹套式安装是一种理想的选择。磁翻板液位计被安装在储罐的夹套上,这样可以有效保护液位计不受极端温度的影响,确保测量的准确性。
5. 远传式:当储罐的结构或位置使得直接安装液位计变得不可行时,可以采用远传式安装。通过延长管将液位计与储罐连接起来,这样即使液位计不能直接安装在储罐上,也能准确测量液位。
6. 管道式:在需要监测管道内流体液位的情况下,管道式安装是最佳选择。磁翻板液位计被安装在管道上,可以直接测量管道内流体的液位高度,适用于各种管道系统。