
产品中心
—— PRODUCTS CENTER ——
产品介绍
一.技术参数
1.量程:0~280MPa(40000PSI)
2.介质:蓖麻油或者变压器油
3.最小可控调节度:10KPa
4.接口尺寸:M20×1.5(3个输出口)
5.外形尺寸:550×360×220
6.重量:13Kg
二、操作说明:
升压过程检:
1.将被检仪表和标准仪表与本设备输出口(4-6)连接,60MPa以下可以轻轻拧紧即可,不必使用扳手或其它任何工具;60MPa以上需要用扳手将仪表和输出口拧紧。
2. 逆时针打开泄压阀(7),逆时针打开低压截止阀(3);逆时针旋转低压调节手柄(1)和高压调节手柄(9),调节到工作位置(一般旋出一半即可),进行吸油动作。
3. 顺时针关闭泄压阀(7),
4.根据压力表校验规程顺时针旋转低压调节手柄(1)开始升压(最大升至60MPa),调节到自己所需压力,然后记录数据,如果所需压力超过60MPa,就需要顺时针关闭低压截止阀(3)(切记,60MPa必须关闭此阀,否则低压缸会损坏),然后顺时针旋转高压调节手柄(9)调节到自己所需压力记录数据。
降压过程检定:
1.逆时针旋转高压调节手柄(9),当压力下降到第一个检测点时,记录数据,直至降到60MPa,打开低压截止阀(3),调节检定低压调节手柄(1)直至到0点;
2.检定结束后,擦干净输出口污物,用随机配带螺堵堵好输出口,以防污物进入。
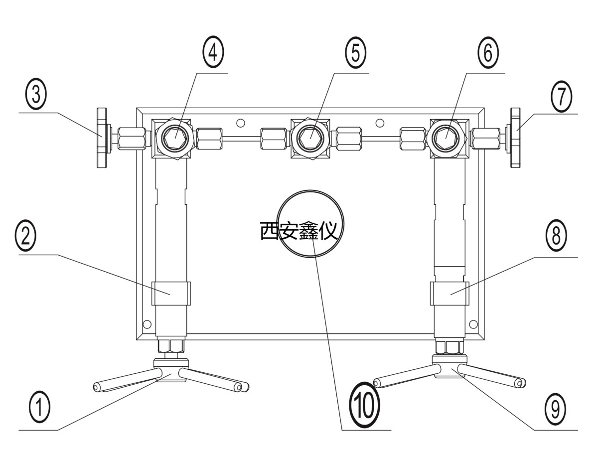
三、外形结构:
1.低压调节手柄 2.低压缸 3.低压截止阀 4~6.输出口
7.泄压阀 8.高压缸 9.高压调节手柄 10.油杯
产品认证
工程师一对一服务

扫码咨询工程师一对一服务



